
|
|
A classic Rolleiflex with a
modern meter (2013)
This
is an old dream, a classic Rolleiflex with a
modern meter. Admittedly, there is not much wrong with the original
meter, as long as it works. But the meter takes its signal from a selenium cell, and
most of
these have meanwhile given to work properly. Typically, the element
characteristics change in a way that they indicate too low at higher light
levels,
so that (if you stick to the meter) exposure may still be correct at
lower
light levels, but the pictures will come out overexposed when it is
bright. Technically, this is down to
the sealing of the
selenium cells by some kind of laquer, that starts to fail and that
lets the
performance of the cell degrade. Contrary to what you can read
sometimes, the
reason is not the amount of light that the cells had to absorb over
time. A
Selenium meter can lie in the sun for decades, with the needle at max
as long
as the cell is “tight”, this will not do harm.
After
the end of serial production, Rollei and the
meter manufacturer have supplied spare parts for a couple of years, but
when
this ended, there was indeed a kind of run for the few selenium cells
that were
still available, and without which the meters of the classic and much
loved
Rolleiflex cameras just didn’t work. I remember that I spoke
to a person from
Gossen (at around 1995) who admitted that they were constantly getting
inquiries from serious Rollei users, whom they would love to help, but
whom
they were – since they had abandoned (and scrapped) the
entire selenium
technology – just unable
to help. And
even if one had finally got hold of a working
(old) selenium cell, this could itself become bad a week later. On the
very
camera that this chapter is about, I had the cell replaced with a
new one
– a repair that lasted for about six months…. This
is now all water under the bridge. Every now and
then, new (old) selenium cells turn up on Ebay, sold “as
is”, for still
significant money. And the remaining lovers of the late Rollei TLRs now
use a
hand held meter – of have bought a GX. Which
is a pity, because the iconic Rollei TLR is
characterised by this row of humps in front of the meter cell, over
which I ran
my fingers when I was a child. Also, the handling of the
“F” is unsurpassed,
this is ergonomics at its best. The GX is a fine camera, but only
second best,
and when I see a F with a handheld meter, I feel sad. Well,
after my own 3,5F was back to a “laggy” meter
again, and I couldn’t bring myself to investing into yet
another new cell, I
remembered a discussion in the “RUG”, the Rollei User
Group, that circled around
the possibility to replace the selenium thing with some more modern
technology,
but that led nowhere, and the project disappeared in some drawer for
around 15
years. Until
I just recently read somebody’s report on the
internet, who claimed to have replaced the selenium cell (of a Russian
Zenit)
with the solar cell of an old calculator. I had an old calculator and
indeed
the needle moved – however far from the correct amount. Still
the idea was back on my mind, and I also got the
nevessary help in my
favourite photo forum. Thanks
a lot Jürgen, for your guidance to stop messing
with solar cells, and for your patience and your help. Without you,
this
project would not have been completed.
As
said, the idea was to replace the original selenium
cell with a modern photo diode (BPW21) and to operate the camera
instrument
with it, via suitable electronics, so that the match-needle metering
concept of
the camera remained intact and the camera itself stayed unchanged, at
last
optically. Aside from the diode, the camera would have to house the
electronics
board somewhere, together with a battery and a switch to start the
meter (and
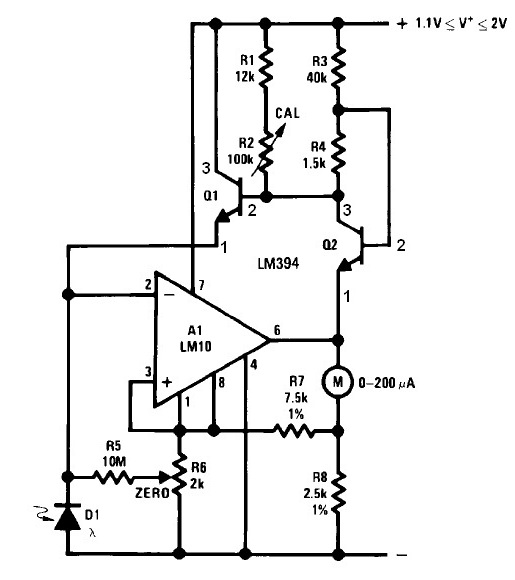
some cables). The
electronic circuitry is from the data sheet of the
IC LM10, but not exactly. To enable a full scale deflection of the
instrument,
some resistor values had to be changed.
The
board layout nearly drove me crazy. My first tries
needed multiple additional wires, the last version only needs three:
Before
version 1.0, which now sits in the camera,
I had to make four prototypes. Number one did work, but was unable to
produce
that full scale deflection, and was much too high for the space I had
planned
to fit it in. Number two and three did not work at all, for whatever
reason.
Number four worked well, but was still too high, so that the focusing
screen
image was obscured a little. I
learned a lot about soldering… Selecting
transistors was a funny exercise. I had to
do this after I had ruined the (expensive) LM394
“supermatch” pair of
transistors. Two transistors of identical amplification had to be
selected,
glued together and fitted under a common cork
“cap”.
Now,
the electronics sit in the mirror box, in the
space kindly provided by Franke & Heidecke, to the right of the
reflex
mirror, the battery to the left below the lever that actuates the
parallax
mask. The
numerous cables are all under the mirror – and I
hope they stay there. The
photo diode is where the selenium cell used to be,
if one looks closely it can be spotted there, this could not be
avoided. This
left me with the problem of how to switch the
meter on. Other than the selenium cell, which lives on sunshine
alone,
electronics need a battery and also a switch (or rather a push button
thing,
because on/off switches are so easily forgotten). Unfortunately,
the circuitry does not lend itself to
fit a timer that would keep the meter on for a couple of seconds, after
switched on once. On the other hand, the classic way of handling a
Rolleiflex
is with both hands, where the camera rests in the hands and aperture
and speed
are adjusted with the thumbs, and where the index fingers are free to
e.g. operate
a meter switch.
I
eventually decided against the initial idea to
somehow switch the meter on via the shutter release button. For once,
there is
not much space to easily fit a switch, and I was also reluctant to make
the
butter smooth shutter release any harder to press. This soft shutter is
one
contributor to the fact that shutter speeds as slow as 1/15 can often
be used
hand-held on a Rolleiflex. And (at least on my camera) I am sure I
would have
often released the shutter accidentally, when all I wanted was to
activate the
meter. So
I sacrificed the P/C (flash) socket. This is a
sacrilege for sure and it does permanently modify the camera (something
I had
said I would avoid). On the other hand I will not use the camera with a
flash
(I don’t like flash photography anyway) and this is a perfect
place for a button.
Where the P/C socket once was, the left index finger starts the meter,
the
thumbs adjust speed and apertuire to match the needle, and the right
index
finger stays free to wait for that decisive moment.
So
the final camera is almost
unchanged from the outside. The meter works well, as if it
was never out of order. To adjust the meter to the correct exposure was
a piece
of cake, eventually, and – all in all – I do not
feel I have ruined that
classic camera at all. Had Rollei stayed in the business after 1981,
they might
have done something similar, they already had prototypes (to be found
in
Prochnow’s books)
One
word of caution, should somebody now plan to also
do this modification, after being fed up with the lame meter of his
beloved
“F”. As much as I am delighted if somebody draws
inspiration from my tinkering,
this particular one wasn’t simple, even if it now looks so
inconspicuous. I am
happy to help, but this is not a “plug and Play”
solution… (to top) |